Printable DB
2007 Jeep Liberty Body Diagram
verifone vx520 receipt paper
sample wedding entourage list
resume format for insurance job
sample of order letter pdf
sleep certification programs
receipt book cvs
sample appeal letter to financial aid
simple small star template
Pin On Jeep Liberty Kj Parts Diagrams
Diagrams For Jeep Body Parts Jeep Wrangler Jk 2007 2017
Jeep Liberty Body Parts 2004 2007 Rocker Panel Molding
2007 Jeep Liberty Sunroof Mopar Parts Giant
Oem Body Frame Parts Diagrams Quadratec
24 Best Jeep Liberty Kj Parts Diagrams Images Jeep Liberty
Oem Body Frame Parts Diagrams Quadratec
Jeep Liberty Kk Lifted Body Parts Diagram 2007 Mods Arb
2002 2012 Jeep Liberty Kj Jeep Suspension Parts Morris 4x4
2007 Jeep Liberty Hood Latch And Hinges Mopar Parts Giant
Suspension Liberty Kj 02 07 Crown Automotive Sales Co
Jeep Liberty Parts Partsgeek Com
Jeep Liberty Kj Wikipedia
Posi Products Car Speaker Connectors
24 Best Jeep Liberty Kj Parts Diagrams Images Jeep Liberty
Mopar 56050851ad
Jeep Liberty Wikipedia
Jeep Liberty Kk Genuine Mopar Accessories And Repair Parts
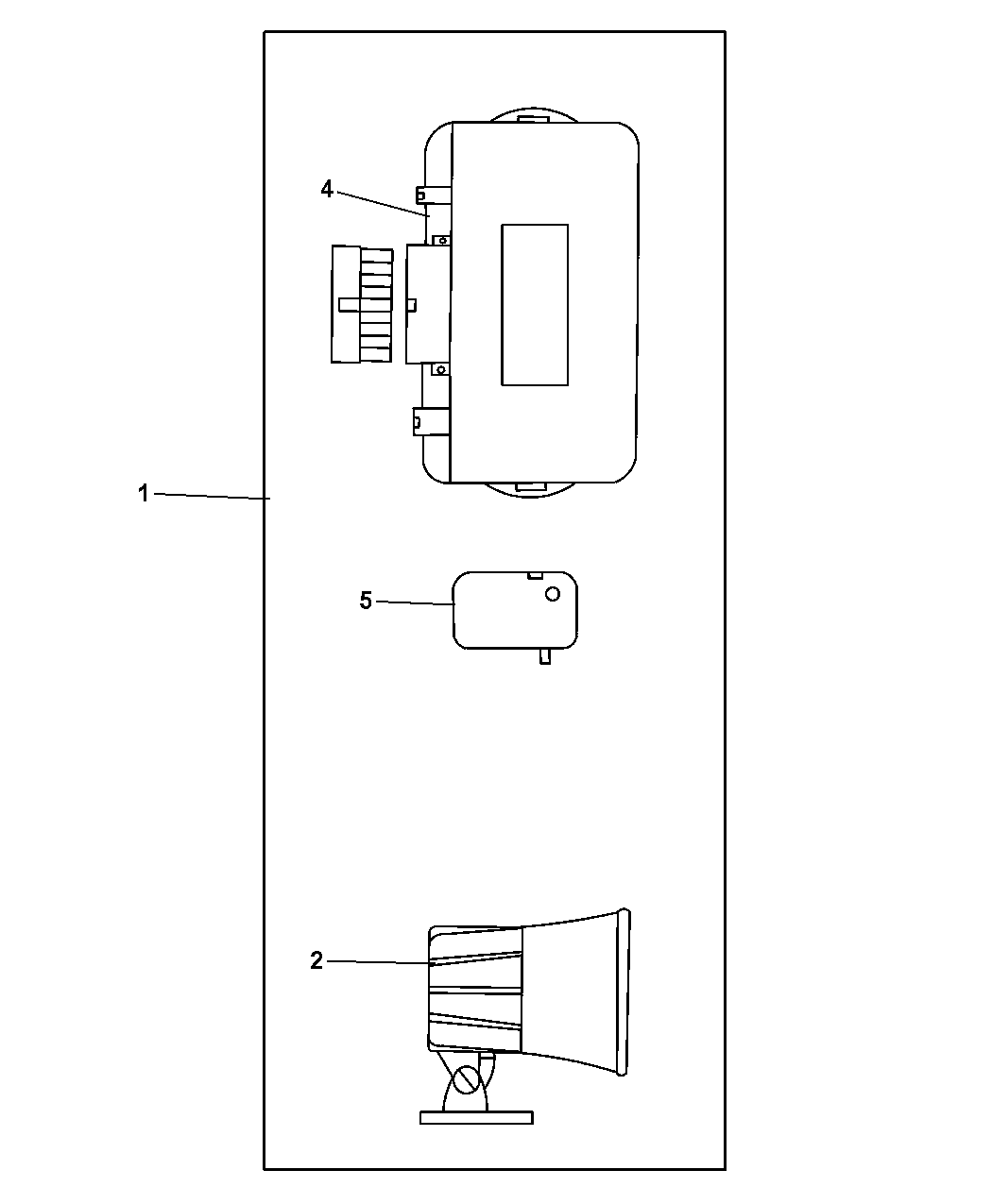
Body Control Module Jeepforum Com
Oem Body Frame Parts Diagrams Quadratec
2007 Jeep Liberty Specs Price Mpg Reviews Cars Com
Source :
pinterest.com
Popular Posts
Hunter Fan Wiring Diagram Light
Goods Collection Form Template
Ford Turn Signal Wiring Diagram
Harry Potter Letter Template Printable
Executive Status Report Template
Iei 212se Keypad Wiring Diagram
Freelance Designer Quotation Template
Free Wedding Seating Chart Template Microsoft Excel
Free Certificate Templates Psd
Free Video Templates
Health And Safety Report Template
Fake Insurance Card Template
How To Write A Voucher Sample
Free Printable Adoption Worksheets
Issue Tracking Template Excel
How To Write On A Resume That You Are Bilingual
Freelance Template Wordpress
Job Application Templates Free Download
Hair Salon Website Templates Free
Gluten Free Food List Printable
Lab Report Template Chemistry
Firearm Certification Test
Gl1800 Wiring Diagram For A
Free Printable Christian Bible Studies
Karatbars Business Card Template
Fuse Box Diagram For 1999 Ford Ranger
Go Live Plan Template Excel
Infographic Timeline Template Png
Free Golf Tournament Flyer Template
Free Printable Congrats Banner Printable
Free Body Shop Estimate Template
Kitchen Hardware Template
Goal Setting Five Year Plan Template
Fuel Pump Relay Wiring Diagram 97 Sunfire
Fire Caulking Certification
Ga Fireplace Wiring Diagram
Fundraising Sheet Template
Financial Statement Analysis Sample Pdf
Free Printable Baby Shower Invitations Templates For Girl
Gm Sbc Wiring Diagram
Free Birthday Invitation Templates For Adults
Fret Slotting Template
Free Rental Ledger Template
Free Christmas Flyer Templates Microsoft Word
Free Customizable Calendar Template
Free Printable Recipe Binder Cover
Irs Audit Report Sample
Girl Scout Leave No Trace Printable
Homeschool Student Planner Printable
Indesign Business Plan Template Free
Generic Receipt Template
Free Schedule Template Excel
It Asset Inventory Template Excel
In Memory Of Letter Sample
Grand National Engine Wiring Diagram