Printable DB
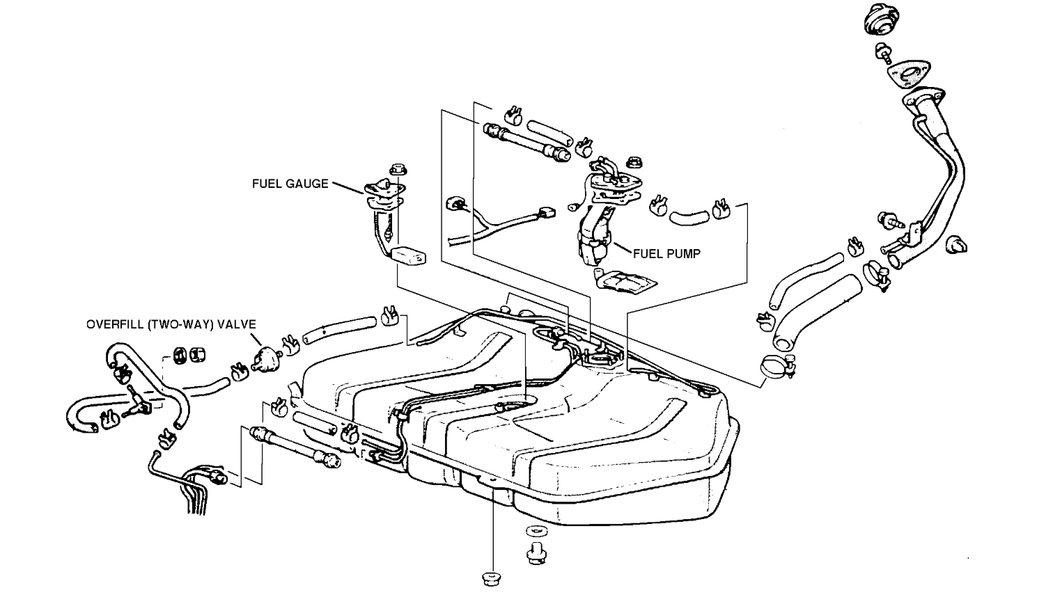
1984 Dodge Colt Fuel System Diagram
sample wedding day itinerary
round protractor printables
time impact analysis sample
teacher sample resignation letters
subject access request log template
sample company report format
turn signal wiring diagram for 77 chevy truck
tractor trailer light plug diagram
1984 Dodge Colt Carburetor Inner Parts Mopar Parts Giant
1984 Dodge Colt Fuel Pumps Mopar Parts Giant
1984 Dodge Colt Radio Antenna And Speakers Mopar Parts Giant
1984 Dodge Colt Case Miscellaneous Parts Of Automatic
1984 Dodge Colt Fuel Tank Mopar Parts Giant
Repair Guides
Repair Guides
Plymouth Chrysler And Dodge Cars And Trucks Of 1986
1984 Dodge Colt Turbo Charger Mopar Parts Giant
Repair Guides
1984 Dodge Colt Fuel Tank Sending Unit Mopar Parts Giant
Repair Guides
Plymouth Chrysler And Dodge Cars And Trucks Of 1986
Dodge Colt Wikipedia
1984 Dodge Colt Oil Separator Mopar Parts Giant
Mitsubishi Astron Engine Wikipedia
Repair Guides
1984 Dodge Colt Oil Pump Filter Mopar Parts Giant
1990 92 Dodge Colt Consumer Guide Auto
Fuel Pump Location Needed Where Is The Fuel Pump Located At
Plymouth Sapparo And Dodge Challenger Chrysler Badged
Source :
pinterest.com
Popular Posts
Free High School Syllabus Template
Landscape Light Wiring Diagram
Funeral Guest Book Template Pdf
Free Easy Resume Maker
Honeywell Thermostat Wiring 2 Wires
John Deere 425 Tractor Wiring Diagram
Instagram Ads Design Template
How To Summarize A Resume
Free Will Template Uk
Fortnite Birthday Card Printable
Free Employee Performance Review Template Pdf
Fuse Box Diagram 2002 Ford F 250 Sel
Guitar Single Coil Vs Humbucker
Free Trading Card Template Word
Film Marketing And Distribution Plan Template
Funny Retirement Invitation Template
Free Printable Thank You Tags For Baby Shower Favors
Instrumentation Certificate Online
Free Electrical Panel Schedule Template Excel
Home Audio Wiring Edmond Ok
Executive Summary Format Research Paper
Free Ms Word Invoice Template
Goods Sale Agreement Simple Consignment Agreement Pdf
Fiat 124 1982 Wiring Schematic
Industrial Compressor 3 Phase Wiring Diagram
Free Printable Holiday Party Invitations
Free Super Mario Printables
Freelance Experience On Resume Sample
Ford Fusion Fuse Panel Diagram
Instagram Story Template 2020
Lafayette Birth Certificate
Kraft Tags Printable
How To Book Template First Grade
Homeline Load Center Wiring Diagram
K Type Temperature Controller Circuit Diagram
Hot Air Balloon Template Pdf
Family Settlement Agreement Sample Form Texas
Folding Table Schematic
Fuse Box On Audi A3
Free Graphic Design Templates For Word
Get Money For Your Receipts
Expressions Vinyl Printable Vinyl
How To Make A Resume App
It Security Audit Report Template
Landlord Legionella Risk Assessment Template
Food Menu Template Word Free
G2 Golf Cart Wiring Diagram
Google Docs Address Label Template
Furniture Templates For Room Design
Hr Annual Report Template
Excel Sales Invoice Template Download Free
Free Printable Home Improvement Contracts
Jda Certification Cost
Hospital Letterhead Sample
Free Late Rent Notice Pdf